加入收藏 
设为首页 
联系我们 
  2025年12月24日 星期三 您位于: 首页 → 新闻博览  
 新闻博览
   江西会昌:科技赋能...  12/22
   技术创新推动“成都...  12/15
   呵护好基层官兵的“...  12/07
   世界首台800千伏大容...  12/03
   时速60公里也不掉“...  11/26
   安克创新三款产品入...  11/19
   华为公布“十大发明...  11/13
   2025上海青少年科创...  11/06
   中国高质量创新成果...  11/02
   美国《时代》周刊评...  10/30
   我国成功研制轻小型...  10/25
   闪极唱片三合一充电...  10/22
   20个发明创新项目、...  10/01
   从发明全嵌到高端第...  09/30
   戴森设计大奖在华10...  09/23
   2024年我国数字经济...  09/12
   高梵以185项发明专利...  09/04
   江西:每万人有效发...  08/30
   第二十届“宋庆龄少...  08/19
   第十一届中国国际发...  08/13
   首页 [1] [2] [3] [4] [5] 尾页 
   页次:1/372 743420篇/页
   
  浏览工具:缩小字体放大字体缩小行距增加行距 返回上一页 发布人:patent  我要发布信息
武汉大二男生发明“新型马桶”获国家专利2014/05/26
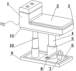
    随着人们生活水平的不断提高,生活习惯的改变,马桶的发明为人们的生活提供了很大的便利。但是目前人们使用的马桶坐垫都是单层的,而马桶垫比较容易吸附使用者身体上滞留的细菌,人们在使用的过程中容易造成交叉感染;另外,在很多场合,由于马桶的高度是固定的,也不方便身高不同的人们使用。近日,武昌理工学院城市建设学院造价1203班的陈非凡同学发明了一种“新型马桶”,有效地解决了上述问题,并获得了国家知识产权局颁发的实用新型专利证书。

“一次去亲戚家玩,在上厕所的过程中发现亲戚家的马桶垫有点脏,而且又不上不行,当时就有了对马桶进行改进的想法。”谈起这项发明的初衷,陈非凡告诉记者,后来他又发现马桶的高度总是稳定不变的,对于身高不同的人来说使用起来并不方便,尤其对老人和小孩子还可能存在一定的危险性。“我当时就想如果能够发明一种既能防污染,又能调节高度的马桶多好,但是当时处于高中时期,忙于学习,只好把这个想法藏在心里。”

进入大学后,陈非凡发现时间宽松了很多,于是在大一时就利用空余时间开始想着怎么才能研制出来一种新型的马桶。他为了将自己的想法变成现实,每逢周末,他就前往图书馆查阅相关资料,由于学校的相关书籍很多,对他的研究也起到了很大的帮助。为了使自己的创意能够更加实用,他在网络上寻找了类似的装置,在参考后进行了一系列的改进,通过一年多的研制,他发明的“新型马桶”获得了国家实用新型专利。

据了解,这种“新型马桶”的工作原理是:底板的两端固定在底座的内侧;气压缸的底端固定在底板的正面,其底部通过底板内部与气压泵底部相通;活塞杆穿过焊接在支撑板下端的固定块,其顶端固定在支撑板的背面,活塞杆从气压缸内伸出,可以通过气压缸内气压的变化做上下运动,其中,支撑板固定在马桶座底部;气压泵的底端固定在底板的正面,其内安装着可以上下活动的活动轴,工作时,活动轴从气压泵的上面伸出或下降;脚踏板的末端呈弧状,连接在气压泵的一侧,另一端为直杆,脚踏板的直杆与弧状的拐角处连接在活动轴的顶端。坐垫的一端与转轴套的外壁连接;转轴的中间固定在马桶面与水箱壳体面相交的中间;转轴套设有两段,各自套在转轴的边缘处;马桶盖的一端也与转轴套的外壁连接;坐垫设有多个,每个坐垫的大小规格都保持一致;坐垫和马桶盖都通过连接着的转轴套围绕转轴转动。

陈非凡说,“在使用这种新型马桶时要先通上电源,当使用者需要如厕时,关闭安装在水箱壳体上的紫外线消毒装置的开关;使用者的脚向下或者向下踩踏脚踏板,当马桶座的高度适合使用者的高度时,停止踩踏,将马桶盖翻起,然后选择特定的一个马桶坐垫;当使用者如厕完后,按下安装在水箱壳体上的冲水开关,清洁完后,依次合上马桶坐垫,再合上马桶盖,最后再按下紫外线消毒装置的开关,对马桶坐垫和马桶内面进行消毒;在人们使用马桶坐垫之前,需要确定各自的坐垫,以便各自使用”。

这种“新型马桶”彻底解决了人们日常生活中担心马桶不干净会引起疾病传染的问题,而且为人们提供了极大的方便。陈非凡希望这种“新型马桶”能够有厂家生产出来并快速的投入市场,为公共卫生安全保驾护航。来源:光明网

登一年送一年
免责条款 | 友情链接 | 系统管理 | 返回页首|
版权所有:发明专利技术信息网 ©1999-2024

网站联系邮箱 E-mail:hangzhou@vip.sina.com
信息产业部网站ICP备案序号:皖ICP备11003032号-6

友情链接                  
除尘滤芯 您的位置 您的位置 您的位置 您的位置 您的位置 您的位置 您的位置